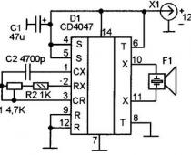
Все хорошо знают, что многие вредители- мыши, крысы и др. — боятся воздействия ультразвуковой частоты в диапазоне 30…50 кГц. К сожалению, каждый вид вредителей реагирует только на какую-то свою определенную частоту, кроме того, при длительном воздействии на них одной частотой они быстро адаптируются и перестают реагировать на такое воздействие. Таким образом, чтобы увеличить эффективность воздействия ультразвука для отпугивания грызунов, необходимо, чтобы частота ультразвукового генератора постоянно менялась в диапазоне частот 30…50 кГц. Читать далее
Отпугиватель крыс
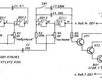
Крысы — вредные животные, которые приносят немало вреда. Именно для защиты от них и предназначена описываемая ниже конструкция. Схема состоит из модулятора низкой частоты (DD1.1, DD1.2), генератора ультразвуковых колебаний (DD1.3) и усилителя мощности (VT1…VT3). Читать далее
Ультразвуковой отпугиватель комаров
Лето — пора отпусков. Многие граждане направляются в теплые края, к морю. Но остаются и те, кто, по тем или иным причинам, предпочитают отдых в родных краях, на даче, на природе у озера… Все бы хорошо, но вот беда, — комары и москиты. Проблема давнишняя и сейчас обычно её решают химическим способом. Можно попробовать ультразвуковую атаку. Ультразвуковые излучатели, предназначенные для порчи аппетита москитам и комарам — не новая идея. Читать далее


