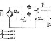
Для управления включением и выключением нагрузки с различных мест предлагается устройство, приведенное на рисунке. При нажатии на одну из кнопок SB1…SBn через резистор R1 на управляющий электрод тиристора VS1 поступает положительный импульс. Тиристор VS1 открывается и включается магнитный пускатель КМ1, который своими контактами КМ1.1 …КМ1.3 включает нагрузку, а контакты КМ1.4 подготавливают цепь выключения тиристора VS1. Читать далее
Электронные кнопки
Кнопка или выключатель — обязательная часть едва ли не любой конструкции. В зависимости от требований, к ним предъявляемых, различаются обычные кнопки (без фиксации), а также кнопки с зависимой и независимой фиксацией. Соответственно их назначению отличаются и конструкции кнопок, причем весьма значительно. Читать далее

